格萊圈是一種雙向活塞用密封件,由一個PTFE添加物和一個O型圈驅動體組成。
正是因為格萊是由硬質的PTFE跟軟質的O型圈組合構成,所以它的安裝也具有一定的難度,惠諾提示您在安裝過程中一定按照正確的格萊圈安裝方法來進行安裝。
那么正確的格萊圈安裝方法是什么呢?
我們建議您使用特殊的安裝工具,安裝時若需要扭曲PTFE環,請采用下列步驟進行安裝。
但由于扭曲會影響密封性能,所以請控制在最兇范圍內。
第一步:請將背環插入溝槽中
第二步:如圖所示,用手指或者是密封圈安裝工具使滑環變成心形。這時請一定小心,動作請勿過分猛烈。

第三步:將滑環裝入溝槽后,順著滑環內側向外周方向推出,使其恢復原樣。
第四步:插入推桿(或者活塞桿)數次,校正滑環內周的變形。
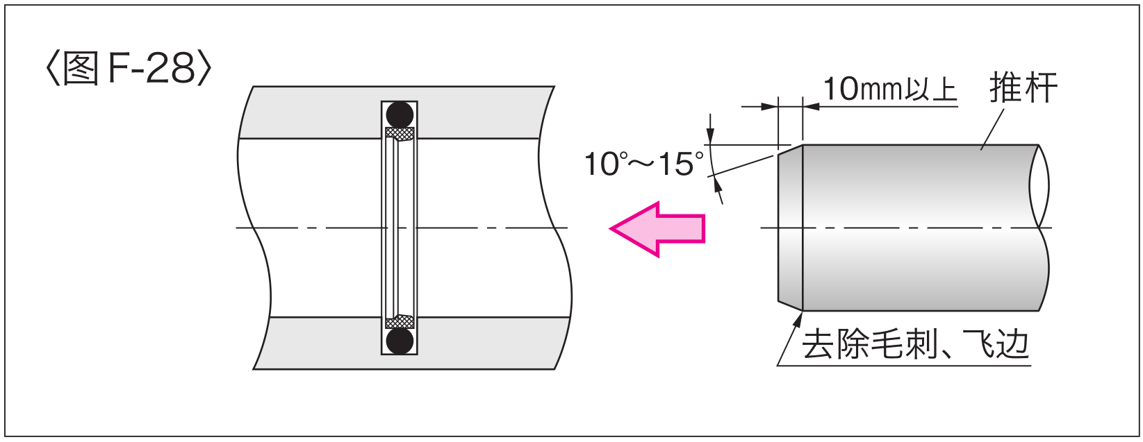
注意:建議在長形成油缸使用兩個活塞導向環,在低徑向負荷下短行程使用一個導向環。對于需要高溫或者對化學物質有阻抗力的特殊性應用,活塞密封是由聚四氟乙烯添加物和氟橡膠密封圈材料組成的。
提示:當外徑小于40mm時我們建議您使用開口式溝槽,非常重要的是安裝工具必須是軟質材料而且沒有銳角,不會對格萊圈產生傷害,在安裝之前,格萊圈必須涂上系統用壓力油。
了解更多格萊圈密封件安裝方法問題,就在惠諾油封哦! 0539-2522777
文章來源:本文由惠諾油封基于網絡素材進行整理。如有侵權部分,請告知,我們24小時內刪除。